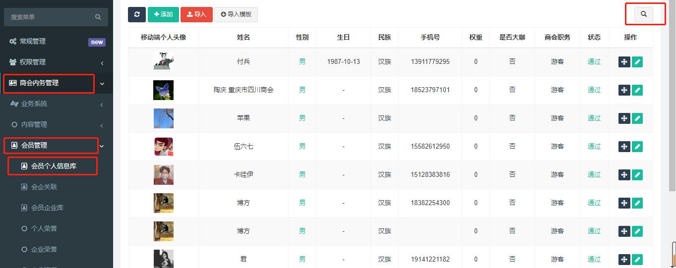
登录云平台后台,【商会内务管理】-【会员管理】-【会员个人信息库】

按照入会时间进行排序,按照入会时间越早,位置越靠前展示